Beschreibung
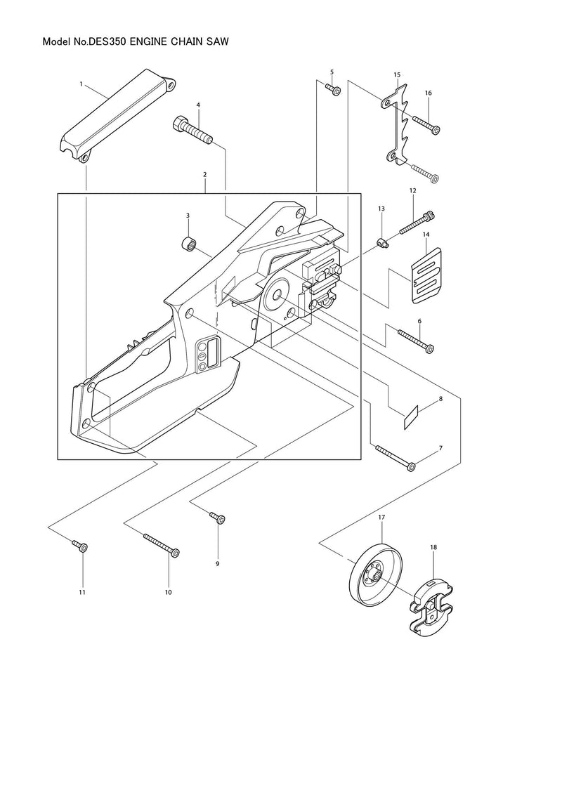
- Position 001 – SCHUTZABDECKUNG FÜR ROHR (SKU: 205117600)
- Position 002 – KUPPLUNGSGEHÄUSESEITE KPL. (SKU: 205111671)
- Position 003 – NADELKÄFIG (SKU: 962300011)
- Position 004 – BOLZEN (SKU: 021232010)
- Position 006 – HLTOP-SCHRAUBE 5,5X45 (SKU: 913455454)
- Position 007 – SCHRAUBE M5,5X55 (SKU: 913455554)
- Position 008 – ETIKETT „350MM“ (SKU: 980113615)
- Position 010 – HLTOP-SCHRAUBE 5,5X45 (Artikelnummer: 913455454)
- Position 013 – SPANNSCHLITTEN (SKU: 001213042)
- Position 014 – FÜHRUNGSPLATTE (SKU: 203111040)
- Position 015 – SPIKE BAR (SKU: 205250010)
- Position 016 – HLTOPING SCHRAUBE 5,5X30 (SKU: 913455304)
- Position 017 – KUPPLUNGSTROMMEL KPL. (SKU: 028233311)
- Position 018 – KUPPLUNG KPL. (SKU: 204180000)
- Position 019 – MOTORGEHÄUSE (SKU: 203111601)
- Position 020 – LUFTMEMBRAN (SKU: 205118020)
- Position 021 – LUFTFÜHRUNGSPLATTE (SKU: 203118011)
- Position 022 – MOTORBAUGRUPPE 220-240 V (SKU: 970108929)
- Position 023 – Kohlebürste (Artikelnummer: 957113840)
- Position 024 – ROTOR KOMPL. (SKU: 970113941)
- Position 026 – SCHRAUBE M5X60 (SKU: 905105605)
- Position 027 – Federring (Artikelnummer: 926105001)
- Position 028 – GEHÄUSE MOTORSEITE KPL. (SKU: 205111632)
- Position 029 – Sprengring (Artikelnummer: 929110100)
- Position 030 – STECKER (SKU: 965451301)
- Position 031 – STECKER (SKU: 965451308)
- Position 032 – Sprengring (SKU: 929109100)
- Position 034 – ZAHNRAD MIT WELLE KPL. (SKU: 203228002)
- Position 035 – RITZEL (SKU: 203228120)
- Position 036 – DRUCKKNOPF (SKU: 975001160)
- Position 037 – KONDENSATOR (SKU: 970109870)
- Position 042 – KABEL MIT STECKER (SKU: 970102110)
- Position 043 – Kabelschutz (Artikelnummer: 204152010)
- Position 044 – ZUGENTLASTUNG (SKU: 203152050)
- Position 046 – ÖLPUMPE KPL. (SKU: 021245003)
- Position 050 – VERBINDEN (SKU: 205245050)
- Position 051 – ÖLTANK KPL. (SKU: 205114001)
- Position 052 – TANKSTOPFEN KPL. (SKU: 205114202)
- Position 053 – DICHTUNG (SKU: 963100081)
- Position 054 – O-RING 28 (SKU: 963228030)
- Position 055 – ANSCHLUSS FÜR TANK (SKU: 205114300)
- Position 058 – ROHRGRIFF (SKU: 205310010)
- Position 059 – FEDER FÜR HANDSCHUTZ (SKU: 205213030)
- Position 060 – HANDSCHUTZ KPL. (SKU: 205213200)
- Position 061 – ETIKETT (SKU: 980114181)
- Position 062 – KETTENBREMSE KPL. (SKU: 205213670)
- Position 063 – BREMSFEDER (SKU: 028213501)
- Position 064 – ETIKETT (SKU: 980114251)
- Position 067 – SÄGEKETTE 14" (SKU: 528092652)
Zahlung & Sicherheit
Ihre Zahlungsinformationen werden sicher verarbeitet. Wir speichern weder Kreditkartendaten noch haben wir Zugriff auf Ihre Kreditkarteninformationen.